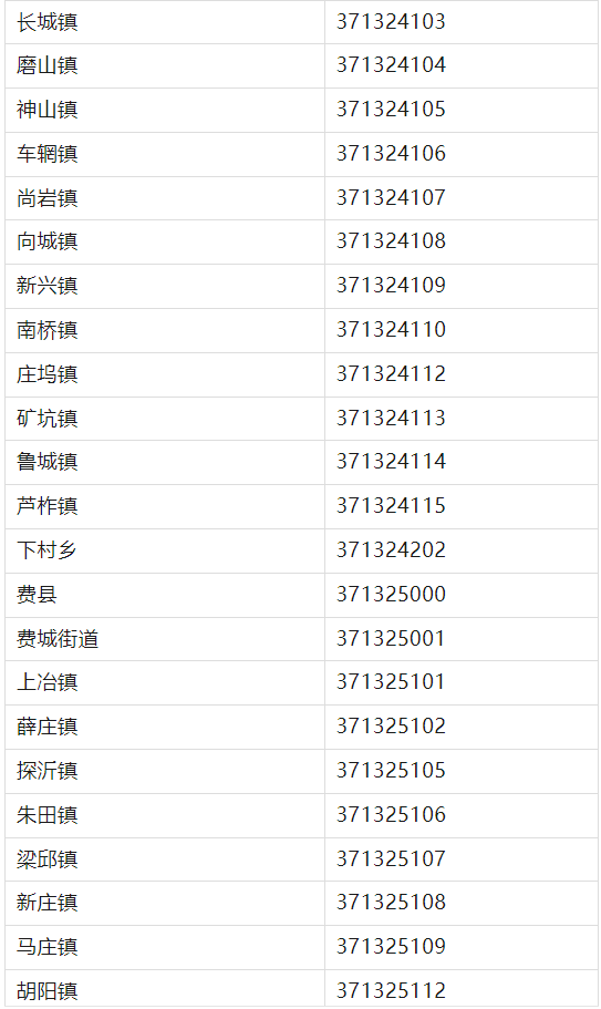
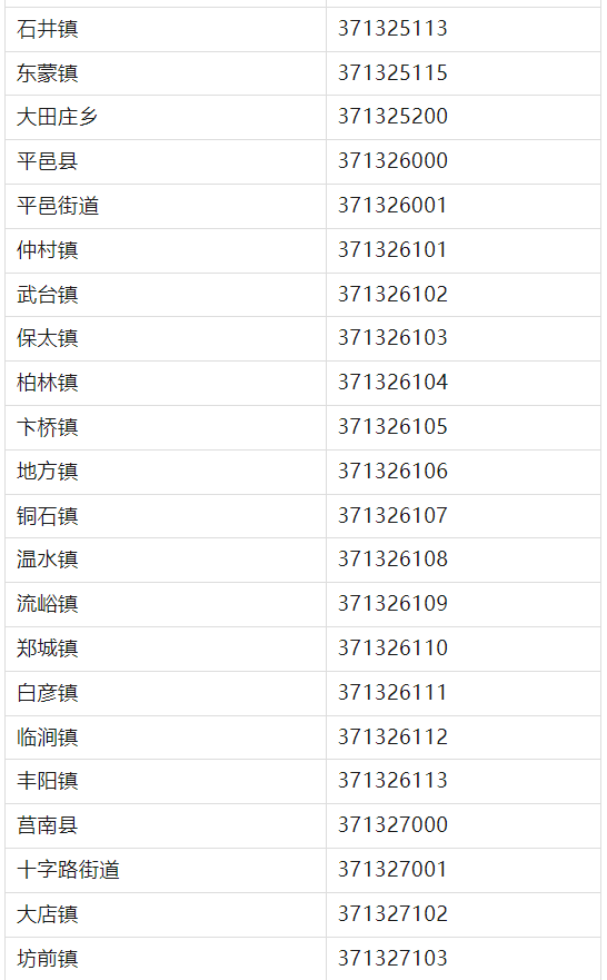
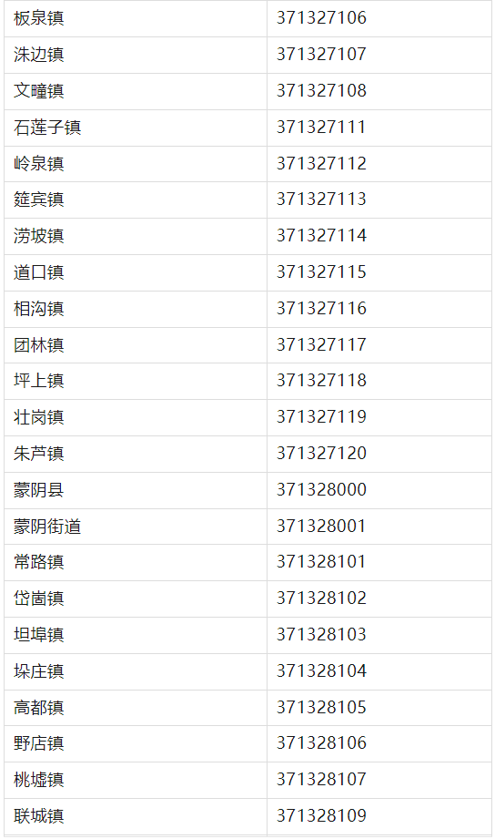
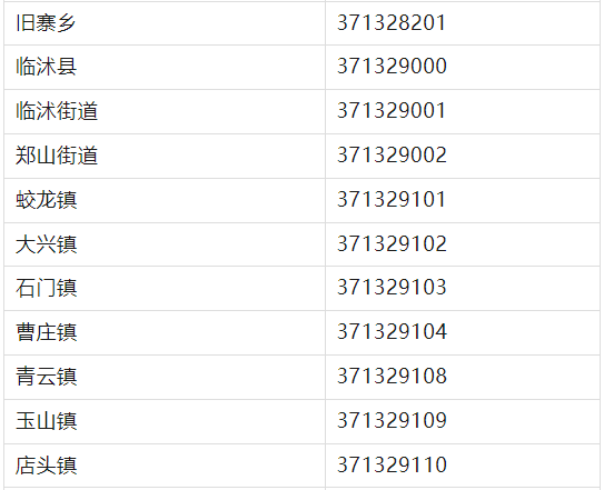
临沂最新行政区划代码公布!
提示:本网部分文章内容转载于网络,转载之目的在于传递更多信息,服务广大人民为初衷,并不代表本网赞同其观点和对其真实性负责!如图片、文字及视频有侵犯您的权益请联系右下角本站客服,我们将在第一时间删除,感谢您的关注与支持!
热门内容:
- 支持潍坊、临沂、济宁等市建设区域副中心城市!
- 临沂2026年20项民生实事
- 临沂即将建设5座高铁站,马上开工!
- 3月1日正式施行!临沂出台现制现售饮用水管理办法
- 北城新区这一片区,即将迎来大变化!
- 最高拘留10日!临沂市公安局通告
- 沂水县全德肉鸡养殖场年出栏210万只肉鸡项目 环境影响评价报批前公示
- 2026年临沂市政府工作报告出炉!
- 临沂市政协十六届五次会议举行
- 临沂最新行政区划代码公布!
- 节约用水,居民水价将上涨!涉及临沂城区供水
- 2028年全线开通!途经临沂
- 山东鲁鸿资源循环科技有限公司危险废物资源化综合利用项目环境影响评价第一次信息公示
- 确定!临沂全市学校新增一门课!
- 关于育儿补贴,临沂发布领取详情!
- 临沂这笔钱,直接发放至个人账户!
- 临沂大工程!横跨三县区!
- 临沂三大热力公司发布收费通知
- 760→590,临沂中考总分有变!
- 整整7分钟!临沂登上CCTV央视新闻!




















